Leksikon:Kvern

Fra lokalhistoriewiki.no
Hopp til navigering Hopp til søk
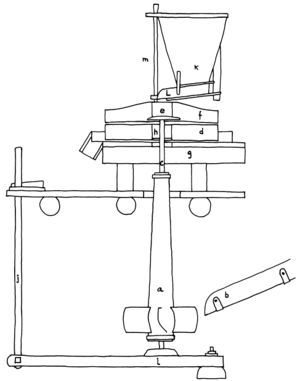
Bekkekvern med kvernkall
Ill.: K.R.

Kvern drevet med vasskraft ble trolig introdusert i Norge på 1200-tallet. Dermed ble korn­maling mannsarbeid (jf. kornbehandling VIII). Til å fange opp vasskraft har det vært brukt enten vasshjul (s.d.) eller kvernkall; på gårds-kverner har den siste vært praktisk talt enerådende, mens vass­hjulet i nyere tid ble brukt ved større kverner, f.eks. bygdemøller. Kvernkallen (a) var en loddrett ­stående stokk med en krans av skovler eller spjell nederst. Gjennom en trerenne (b) ble vannet ledet slik at strålen traff skovlene og drev kallen rundt. Øverst var kallen forlenget med en jerntein (c), i målførene bl.a. kalt spenel/spunnur, m., og snelle, f. Teinen gikk gjennom et rommelig hull i understeinen (d) og endte i et segl eller sigle, dvs. et ­horisontalt tverrjern (e), som oversteinen (f) hvilte på og som drev den rundt når kallen roterte. Understeinen lå i ro under malingen; den hvilte på et kraftig stillas (g) (lur, m.). Åpningen (h) i ­understeinen ble tettet igjen med f.eks. en trekubbe (oftest kalt grøtte/gråtte m.) med hull for ­spenelen. Nederst hvilte kvernkallen med en jerntapp på grunnstokken (i) (også grunnslå, lettestokk o.a.). Fra den frie enden av grunnstokken gikk en stang (j) (et lettetre) opp i k.huset. Med lettetreet kunne kvernkall og overstein senkes ­eller heves, slik at kverna malte finere eller grovere.

Over kvernsteinene hang en traktformet kornbeholder (k). Den ble kalt via, f., på Øst- og Sørlandet, teine, f., i Valdres, Gudbrandsdalen og på Vestlandet t.o.m. Nordmøre, skrepp, m. eller f., nordafjells og i Østerdalen. Under traktåpningen hang skoen (l), en trerenne som var løselig festet til via, og som munnet ut rett over kvernøyet i oversteinen. Skoen hadde en arm med hull (eller hakk) i, der det var plassert en tynn stav (m) som nådde ned på oversteinen. Staven er kalt skaktein, m., skak­vond, m., skakvol, m., skakmongul, m., o.l. Når kverna gikk, hoppet staven på den ujevne steinoverflaten og ristet skoen, slik at det stadig rant korn ned i kvernøyet. Rundt kvernsteinene gikk en trekarm som samlet melet når det kom ut. Bare på framsida, over melkista, var det åpning.

En god gårds-kvern kunne male et par tønner korn eller mer i døgnet. De fleste kvernbekker hadde så liten vassføring at kornmaling bare kunne foregå i flomtidene høst og vår. Kverner som kunne brukes året rundt, kaltes årgangs-kverner. H.W.

Historisk leksikon.jpg
Norsk historisk leksikon. Kultur og samfunn ca. 1500 – ca. 1800
Hovedside  | Forord  | Forkortelser  | Forfattere  | Artikler  | Kilder og litteratur
Copyright
Denne artikkelen, med ev. tilhørende illustrasjoner, er hentet fra Norsk historisk leksikon 2. utgave, 3. opplag (2004), og er beskyttet av opphavsrett. Den er publisert på lokalhistoriewiki.no etter avtale med Cappelen Damm Akademisk. Formateringen er tilpasset wikipublisering og forkortelser er skrevet helt ut, men teksten er ellers ikke endret i forhold til den trykte utgaven. Videre bruk av tekst eller illustrasjoner forutsetter avtale med Cappelen Damm Akademisk.